| Συνδεθείτε στην Υπηρεσία Νομοσκόπιο | | | | | Νέοι χρήστες | | Εάν είστε νέος χρήστης, θα πρέπει να δημιουργήσετε ένα ΔΩΡΕΑΝ λογαριασμό προκειμένου να φύγει το παράθυρο αυτό και να αποκτήσετε πλήρη πρόσβαση στην υπηρεσία Νομοσκόπιο. | | Δημιουργία νέου λογαριασμού | | |
1. Κατά το συνεχές οικοδομικό σύστημα επιβάλλεται ή συνέχεια των οικοδομών Κατά τις προσόψεις καθ' άπαν το ύψος αυτών (Σχήμα 36).

Σχήμα 36
2. Παρεκκλίσεις από της προηγουμένης παραγράφου 1 επιτρέπονται κατά τις ακολούθους διακρίσεις:
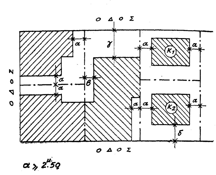
α) Επιτρέπεται κατ' αρχήν παρέκκλισις καθ' όλον το ύψος της προσόψεως υπό τον όρον όπως ή απόστασις μεταξύ της πλαγίας όψεως της οικοδομής και του πλαγίου ορίου του οικοπέδου μη είναι μικρότερα των 2,50 m. (Σχήματα 36 και 37)

Σχήμα 37: Εφόσον γ>3.00 m το β δύναται να είναι μικρότερο των 2.5 m εν ουδεμία δε περίπτωση μικρότερο του 1.00 m.
K1: κτίριο άρθρου 20 παράγραφος 2)α
Κ2: κτίριο άρθρου 20 παράγραφος 2)β οπότε δ≥3.00 m

Σχήμα 38
Εις περίπτωσιν διωρόφου οικοδομής, ανεγειρόμενης εις περιοχήν εις την οποίαν ειδικώς επιβάλλεται αρχιτεκτονικός έλεγχος επί των οικοδομών (άρθρο 47), ή Αρχή δύναται και να αρνηθεί την ως άνω παρέκκλιση εφ' όσον αυτή συνεπάγεται απαράδεκτη αισθητική ζημίαν και συγχρόνως δεν δικαιολογείται επαρκώς είτε εκ λόγων λειτουργικών του κτιρίου (προσανατολισμός κ.λ.π.) είτε εκ δυσαναλόγως μεγάλου μήκους του προσώπου του οικοπέδου.
β) Εις τις περιπτώσεις των παραγράφων 4 και 5 του άρθρου 17, εφαρμοζομένων όμως αναλόγως έκαστης περιπτώσεως των απαιτήσεων των προηγουμένων εδαφίων της παρούσης Παραγράφου ως προς τις παραπλεύρως αποστάσεις.
3. Οι διατάξεις των προηγουμένων παραγράφων 1 και 2 ισχύουν και δια τις περιπτώσεις της ανοικοδομήσεως ενδότερον της οικοδομικής γραμμής (άρθρο 20). Εάν δε πρόκειται περί ανοικοδομήσεως εις βάθος μείζον των 3 m από της οικοδομικής γραμμής επιτρέπεται ελευθέρως παρέκκλισις από της παραγράφου 1.