| Συνδεθείτε στην Υπηρεσία Νομοσκόπιο | | | | | Νέοι χρήστες | | Εάν είστε νέος χρήστης, θα πρέπει να δημιουργήσετε ένα ΔΩΡΕΑΝ λογαριασμό προκειμένου να φύγει το παράθυρο αυτό και να αποκτήσετε πλήρη πρόσβαση στην υπηρεσία Νομοσκόπιο. | | Δημιουργία νέου λογαριασμού | | |
Α. Υπολογισμός θεωρητικού πληθυσμού
1. Ο θεωρητικός πληθυσμός των εκπαιδευτηρίων αποτελεί άθροισμα των θεωρητικών πληθυσμών των παρακάτω δραστηριοτήτων (α) έως (γ) και υπολογίζεται ως εξής:
α. Για τις αίθουσες διδασκαλίας ισούται με τον αριθμό των καθισμάτων χωρίς να υπολείπεται της αναλογίας 1 ατόμου/2 m2 καθαρού εμβαδού δαπέδου.
β. Για τα εργαστήρια ισούται με τον αριθμό των θέσεων εργασίας χωρίς να υπολείπεται της αναλογίας 1 ατόμου/4,5 m2 καθαρού εμβαδού δαπέδου.
γ. Για τους χώρους γραφείων υπολογίζεται με την αναλογία 1 ατόμου/6 m2 καθαρού εμβαδού δαπέδου.
2. Ο θεωρητικός πληθυσμός των χώρων συνάθροισης κοινού εντός του κτιρίου των εκπαιδευτηρίων, υπολογίζεται κατά τα οριζόμενα στις παραγράφους A1, A2 και A3 του άρθρου 3 της υπ' αριθμόν 3/2015 Πυροσβεστικής Διάταξης όπως κάθε φορά ισχύει και αθροίζεται στο θεωρητικό πληθυσμό της παραγράφου 1 του παρόντος άρθρου, με εξαίρεση εκείνους που εμπίπτουν στην παράγραφο 3)γ του άρθρου 1 της παρούσας.
Β. Υπολογισμός οδεύσεων διαφυγής και εξόδων κινδύνου
1. Παροχή οδεύσεων διαφυγής Η παροχή όδευσης διαφυγής ανά μονάδα πλάτους (0.6 m) καθορίζεται σε:
α. 100 άτομα για τις οριζόντιες οδεύσεις (διάδρομοι, πόρτες, προθάλαμοι).
β. 60 άτομα για τις κατακόρυφες οδεύσεις (κλιμακοστάσια, ράμπες).
2. Αριθμός και πλάτος οδεύσεων διαφυγής
α. Η παροχή της οριζόντιας όδευσης διαφυγής υπολογίζεται για κάθε όροφο - επίπεδο ανάλογα με το θεωρητικό πληθυσμό αυτού.
β. Σε εκπαιδευτήρια που η κύρια χρήση τους αναπτύσσεται σε έως και 2 ορόφους ή επίπεδα, ο όροφος ή το επίπεδο με το μεγαλύτερο θεωρητικό πληθυσμό καθορίζει το πλάτος των κατακόρυφων οδεύσεων διαφυγής.
γ. Σε εκπαιδευτήρια που η κύρια χρήση τους αναπτύσσεται σε 3 έως και 5 ορόφους ή επίπεδα, το άθροισμα των παροχών των 2 με το μεγαλύτερο θεωρητικό πληθυσμό ορόφων ή επιπέδων, καθορίζει το πλάτος των κατακόρυφων οδεύσεων διαφυγής.
δ. Σε εκπαιδευτήρια που η κύρια χρήση τους αναπτύσσεται σε 6 ή περισσότερους ορόφους ή επίπεδα, το άθροισμα των παροχών των 3 με το μεγαλύτερο θεωρητικό πληθυσμό ορόφων ή επιπέδων, καθορίζει το πλάτος των κατακόρυφων οδεύσεων διαφυγής.
ε. Εφόσον όλες οι κατακόρυφες οδεύσεις διαφυγής είναι πυροπροστατευμένες με αυτοκλειόμενες πυράντοχες πόρτες, ο όροφος ή το επίπεδο με το μεγαλύτερο θεωρητικό πληθυσμό, καθορίζει την παροχή των οδεύσεων διαφυγής, ανεξαρτήτως αριθμού ορόφων ή επιπέδων.
στ. Το ελάχιστο πλάτος των οδεύσεων διαφυγής και των θυρών αυτών ορίζεται σε 0.9 m. Κατ' εξαίρεση, το ελάχιστο πλάτος κάθε θύρας αιθουσών διδασκαλίας, γραφείων και εργαστηρίων με θεωρητικό πληθυσμό μέχρι 50 άτομα επιτρέπεται να είναι 0.7 m.
ζ. Το πλάτος της όδευσης διαφυγής δεν πρέπει να μειώνεται στην πορεία προς την τελική έξοδο.
3. Έξοδοι κινδύνου
3.1. Αριθμός και πλάτος εξόδων κινδύνου
3.1.1. Απροστάτευτες οδεύσεις διαφυγής
α. Ο αριθμός και το πλάτος των εξόδων κινδύνου ή/ και των τελικών εξόδων κινδύνου εκπαιδευτηρίων που αναπτύσσονται σε 1 όροφο ή επίπεδο, δίνεται στον Πίνακα 1.
β. Ο αριθμός και το πλάτος των τελικών εξόδων κινδύνου στο επίπεδο εκκένωσης εκπαιδευτηρίων που αναπτύσσονται σε 2 ή περισσότερους ορόφους ή επίπεδα δίνεται στον Πίνακα 1 και είναι σύμφωνα με τον θεωρητικό πληθυσμό. Στην περίπτωση αυτή ο θεωρητικός πληθυσμός υπολογίζεται από το άθροισμα:
i. Του θεωρητικού πληθυσμού του ορόφου εκκένωσης και
ii. Του 1/2 του συνόλου του θεωρητικού πληθυσμού των υπερκείμενων και υποκείμενων ορόφων ή επιπέδων.
3.1.2. Πυροπροστατευμένες οδεύσεις διαφυγής
Ο αριθμός και το πλάτος των εξόδων κινδύνου εκπαιδευτηρίων που αναπτύσσονται σε 2 ή περισσότερους ορόφους ή επίπεδα και διαθέτουν πυροπροστατευμένες οδεύσεις διαφυγής με αυτοκλειόμενες πυράντοχες πόρτες, δίνεται στον Πίνακα 1 και είναι σύμφωνα με τον θεωρητικό πληθυσμό κάθε ορόφου ή επιπέδου. Στην περίπτωση αυτή ο αριθμός και το πλάτος των τελικών εξόδων κινδύνου στο επίπεδο εκκένωσης δίνεται στον Πίνακα 1 και είναι σύμφωνα με τον θεωρητικό του πληθυσμό, ο οποίος υπολογίζεται από το άθροισμα:
i. Του θεωρητικού πληθυσμού του ορόφου εκκένωσης και
ii. Του 1/4 του συνόλου του θεωρητικού πληθυσμού των υπερκείμενων και υποκείμενων ορόφων ή επιπέδων.
Πίνακας 1
Αριθμός και πλάτη εξόδων κινδύνου
|
Θεωρητικός πληθυσμός
(άτομα)
|
Αριθμός εξόδων κινδύνου
|
Πλάτος εξόδων κινδύνου
(m)
|
Έως 50
|
1*
|
0.9
|
51 - 200
|
2
|
0.9
|
201 - 350
|
2
|
1.4 και 0.9
|
351-500
|
2
|
1.4
|
501 - 750
|
3
|
1.6
|
751 - 1000
|
4
|
1.8
|
*Κατ' εξαίρεση σε υπόγειους χώρους κύριας χρήσης επιβάλλονται 2 τουλάχιστον έξοδοι κινδύνου ελάχιστου πλάτους 0.9 m.
Για πληθυσμό μεγαλύτερο των 1000 ατόμων προστίθεται 1 έξοδος πλάτους 1.8 m ανά 300 άτομα ή κλάσμα αυτών.
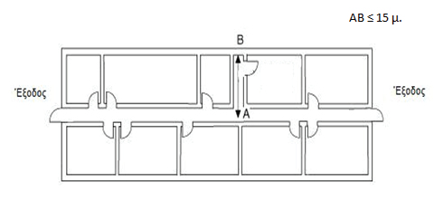
3.2. Διάταξη τελικών εξόδων
Εφόσον επιβάλλονται 2 ή περισσότερες τελικές έξοδοι, τα πλησιέστερα άκρα τους πρέπει να απέχουν τουλάχιστον το 1/3 της μέγιστης διαγώνιας διάστασης (D) του χώρου ή του κτιρίου που εξυπηρετούν (Σχήματα 1 και 2). Εφόσον απαιτούνται 3 ή περισσότερες τελικές έξοδοι, η θέση τουλάχιστον 2 εξ' αυτών, πρέπει να ικανοποιεί τα παραπάνω κριτήρια.

Σχήμα 1

Σχήμα 2
Σχήματα 1 και 2
Διάταξη τελικών εξόδων
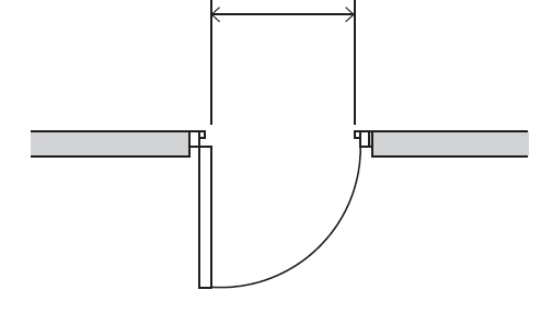
4. Όρια μήκους πραγματικής απροστάτευτης όδευσης διαφυγής και αδιεξόδων
α. Η μέγιστη απόσταση της πραγματικής απροστάτευτης όδευσης διαφυγής από τους χώρους κύριας χρήσης του εκπαιδευτηρίου έως την πλησιέστερη έξοδο κινδύνου ορίζεται σε 45 μ. Όταν υπάρχουν 2 ή περισσότερες εναλλακτικές οδεύσεις διαφυγής, αρκεί η 1 από αυτές να πληροί το μέγιστο όριο μήκους της πραγματικής απόστασης.
β. Η απόσταση της πραγματικής απροστάτευτης όδευσης διαφυγής, αναφέρεται συνήθως σε οριζόντια διαδρομή. Όταν στην όδευση περιλαμβάνεται απροστάτευτη κατακόρυφη όδευση, προστίθεται το μήκος του κλιμακοστασίου επαυξημένο κατά 50%.
γ. Το μέγιστο μήκος απροστάτευτων αδιέξοδων τμημάτων διαδρόμου, δεν επιτρέπεται να υπερβαίνει τα 15 m. (Σχήμα 3).

Σχήμα 3: Όριο μήκος αδιεξόδου
Γ. Λοιπά χαρακτηριστικά οδεύσεων διαφυγής - εξόδων κινδύνου
1. Οδεύσεις διαφυγής – έξοδοι κινδύνου
1.1. Γενικά
α. Το ελεύθερο ύψος των χώρων, όπου διέρχεται όδευση διαφυγής είναι τουλάχιστον 2.2 m και για τις σκάλες, δοκούς, θύρες οδεύσεων τουλάχιστον 2 m. Το ελάχιστος πλάτος της όδευσης διαφυγής των βοηθητικών χώρων, δεν επιτρέπεται να είναι μικρότερο από 0.6 m.
β. Απαγορεύεται η χρήση των ανελκυστήρων ως οδεύσεων διαφυγής.
γ. Απαγορεύεται η διέλευση οδεύσεων διαφυγής από βοηθητικούς χώρους όπως χώροι υγιεινής, αποθήκευσης και ηλεκτρομηχανολογικών εγκαταστάσεων.
1.2. Κλιμακοστάσια
α. Έξοδοι κινδύνου - θύρες οδεύσεων διαφυγής, από χώρους κύριας χρήσης, πρέπει να διαθέτουν πλατύσκαλο εφόσον οδηγούν σε κλιμακοστάσιο. Το ελάχιστο πλάτος του πλατύσκαλου πρέπει να είναι 0.6 m.
β. Κάθε θύρα που έχει άμεση πρόσβαση στο κλιμακοστάσιο, πρέπει κατά το άνοιγμά της να μην φράσσει σκαλοπάτια ή πλατύσκαλα, ούτε να μειώνει το πλάτος της σκάλας ή του πλατύσκαλου, διασφαλίζοντας 1 τουλάχιστον μονάδα πλάτους οδεύσεως διαφυγής (Σχήμα 4).

Σχήμα 4: Θύρες κλιμακοστασίων
γ. Το ελάχιστο πλάτος (πάτημα) και ύψος (ρίχτι) των βαθμίδων των κλιμάκων που χρησιμοποιούνται ως οδεύσεις διαφυγής από χώρους κύριας χρήσης πρέπει να είναι 0.28 m και 0.13 m έως 0.18 m αντίστοιχα (Σχήμα 5). Κατ' εξαίρεση απαλλάσσονται από την ανωτέρω απαίτηση εκπαιδευτήρια που η κύρια χρήση τους αναπτύσσεται σε έως και 2 ορόφους ή επίπεδα υπέρ του ισογείου και ο θεωρητικός πληθυσμός κάθε ορόφου ή επιπέδου δεν υπερβαίνει τα 50 άτομα.

Σχήμα 5: Βαθμίδες κλιμάκων
δ. Οι κυλιόμενες κλίμακες δεν γίνονται αποδεκτές ως οδεύσεις διαφυγής.
ε. Οι οδεύσεις διαφυγής πρέπει να είναι πυράντοχης κατασκευής και να μην περιλαμβάνουν καυστά υλικά.
Εξωτερικά μεταλλικά κλιμακοστάσια γίνονται αποδεκτά ως δεύτερες οδεύσεις διαφυγής.
1.3. Πυραντίσταση οδεύσεων διαφυγής
1.3.1. Εξωτερικές οδεύσεις
Οι εξωτερικές, οριζόντιες και κατακόρυφες οδεύσεις διαφυγής θεωρούνται ως πυροπροστατευμένες εφόσον είναι μόνιμης πυράντοχης κατασκευής χωρίς να περιλαμβάνουν καυστά υλικά και διαχωρίζονται από το κτίριο με δομικά στοιχεία με δείκτη πυραντίστασης τουλάχιστον ίσο με τον καθορισμένο στον Πίνακα 2. Η πυραντίσταση των εξωτερικών τοίχων πρέπει να επεκτείνεται εκατέρωθεν του κλιμακοστασίου κατά τουλάχιστον 2 m.
1.3.2. Εσωτερικές οδεύσεις
Τα περιβλήματα των πυροπροστατευμένων οδεύσεων διαφυγής πρέπει να έχουν δείκτη πυραντίστασης τουλάχιστον ίσο με τον καθορισμένο στον Πίνακα 2.
1.3.3. Ανοίγματα πυροπροστατευμένων οδεύσεων Τα ανοίγματα που χρησιμοποιούνται ως είσοδος και έξοδος της πυροπροστατευμένης όδευσης διαφυγής των ανωτέρω παραγράφων 1.3.1 και 1.3.2 πρέπει να διαθέτουν αυτοκλειόμενες πυράντοχες πόρτες με δείκτη πυραντίστασης που μπορεί να υπολείπεται μέχρι 30 λεπτά από τον ελάχιστο δείκτη πυραντίστασης του Πίνακα 2.
2. Θύρες
2.1. Κατεύθυνση περιστροφής - πλάτος
Οι θύρες των οδεύσεων διαφυγής και εξόδων κινδύνου των εκπαιδευτηρίων, πρέπει να ανοίγουν προς την κατεύθυνση της διαφυγής. Από την εν λόγω απαίτηση απαλλάσσονται θύρες με συνολικό θεωρητικό πληθυσμό μέχρι 50 άτομα. Σε κάθε περίπτωση οι θύρες πρέπει να παρέχουν το πλήρες πλάτος του ανοίγματός τους (Σχήμα 6).

Σχήμα 6: Πλάτος θύρας
2.2. Θύρες περιορισμού πορείας - ελέγχου
α. Οι αυτόματες μηχανοκίνητες θύρες με αισθητήρες κίνησης που χρησιμοποιούνται στα εκπαιδευτήρια ως έξοδοι κινδύνου, γίνονται αποδεκτές μόνο όταν παρέχουν το επιβαλλόμενο πλάτος κατά το πλήρες άνοιγμά τους και σε περίπτωση διακοπής ρεύματος, παραμένουν ανοιχτές.
β. Οι θύρες ασφαλείας με ειδικούς μηχανισμούς χρονοκαθυστέρησης, οι περιστρεφόμενες θύρες γύρω από τον κεντρικό άξονα αυτών και οι διατάξεις ελέγχου εισερχομένων ατόμων, δεν γίνονται αποδεκτές.
2.3. Εξοπλισμός
α. Κάθε πόρτα πρέπει να έχει κατάλληλο εξοπλισμό λειτουργίας, ώστε να ανοίγει με προφανή και εύκολο τρόπο.
β. Σύρτες ή παρόμοια μέσα ή συστήματα ασφαλίσεως (όπως χρήση κλειδιού, μαγνητικές κάρτες, πληκτρολόγια απασφάλισης) δεν γίνονται αποδεκτά.