| Συνδεθείτε στην Υπηρεσία Νομοσκόπιο | | | | | Νέοι χρήστες | | Εάν είστε νέος χρήστης, θα πρέπει να δημιουργήσετε ένα ΔΩΡΕΑΝ λογαριασμό προκειμένου να φύγει το παράθυρο αυτό και να αποκτήσετε πλήρη πρόσβαση στην υπηρεσία Νομοσκόπιο. | | Δημιουργία νέου λογαριασμού | | |
Α. Υπολογισμός θεωρητικού πληθυσμού
1. Ο θεωρητικός πληθυσμός των γραφείων αποτελεί το άθροισμα των θεωρητικών πληθυσμών των παρακάτω δραστηριοτήτων και υπολογίζεται ως εξής:
Δραστηριότητες
|
Θεωρητικός πληθυσμός
(συντελεστής 1 άτομο/m2)
|
Χώροι γραφείων ≤ 50 m2
|
9
|
Χώροι γραφείων > 50 m2
|
5
|
Χώροι αναμονής και υποδοχής κοινού
|
3
|
2. Ο θεωρητικός πληθυσμός των χώρων συνάθροισης κοινού, υπολογίζεται κατά τα οριζόμενα στις παράγραφος Α1, Α2 και A3 του άρθρου 3 της υπ' αριθμόν 3/2015 Πυροσβεστικής Διάταξης όπως κάθε φορά ισχύει και αθροίζεται στο θεωρητικό πληθυσμό της παραγράφου 1 του παρόντος άρθρου.
Τα μέτρα και μέσα πυροπροστασίας των εν λόγω χώρων θα λαμβάνονται στο σύνολο τους, σύμφωνα με τα οριζόμενα στην παρούσα.
Β. Υπολογισμός οδεύσεων διαφυγής και εξόδων κινδύνου
1. Παροχή οδεύσεων διαφυγής Η παροχή όδευσης διαφυγής ανά μονάδα πλάτους (0.60 m) καθορίζεται σε:
α. 100 άτομα για τις οριζόντιες οδεύσεις (διάδρομοι, πόρτες, προθάλαμοι).
β. 60 άτομα για τις κατακόρυφες οδεύσεις (κλιμακοστάσια, ράμπες).
2. Αριθμός και πλάτος οδεύσεων διαφυγής
α. Η παροχή της οριζόντιας όδευσης διαφυγής υπολογίζεται για κάθε όροφο-επίπεδο ανάλογα με το θεωρητικό πληθυσμό αυτού.
β. Σε γραφεία που η κύρια χρήση τους αναπτύσσεται σε έως και 2 ορόφους ή επίπεδα, ο όροφος ή το επίπεδο με το μεγαλύτερο θεωρητικό πληθυσμό καθορίζει το πλάτος των κατακόρυφων οδεύσεων διαφυγής.
γ. Σε γραφεία που η κύρια χρήση τους αναπτύσσεται σε 3 έως και 5 ορόφους ή επίπεδα, το άθροισμα των παροχών των 2 με το μεγαλύτερο θεωρητικό πληθυσμό ορόφων ή επιπέδων, καθορίζει το πλάτος των κατακόρυφων οδεύσεων διαφυγής.
δ. Σε γραφεία που η κύρια χρήση τους αναπτύσσεται σε 6 ή περισσότερους ορόφους ή επίπεδα, το άθροισμα των παροχών των 3 με το μεγαλύτερο θεωρητικό πληθυσμό ορόφων ή επιπέδων, καθορίζει το πλάτος των κατακόρυφων οδεύσεων διαφυγής.
ε. Εφόσον όλες οι κατακόρυφες οδεύσεις διαφυγής είναι πυροπροστατευμένες με αυτοκλειόμενες πυράντοχες πόρτες, ο όροφος ή το επίπεδο με το μεγαλύτερο θεωρητικό πληθυσμό, καθορίζει την παροχή των οδεύσεων διαφυγής, ανεξαρτήτως αριθμού ορόφων ή επιπέδων.
στ. Το ελάχιστο πλάτος των οδεύσεων διαφυγής και των θυρών αυτών ορίζεται σε 0.9 m. Κατ' εξαίρεση, το ελάχιστο πλάτος κάθε εσωτερικής θύρας χώρων με θεωρητικό πληθυσμό μέχρι 50 άτομα επιτρέπεται να είναι 0.7 m.
ζ. Το πλάτος της όδευσης διαφυγής δεν πρέπει να μειώνεται στην πορεία προς την τελική έξοδο.
3. Έξοδοι κινδύνου
3.1. Αριθμός και πλάτος εξόδων κινδύνου
3.1.1. Απροστάτευτες οδεύσεις διαφυγής Ο αριθμός και το πλάτος των τελικών εξόδων κινδύνου στο επίπεδο εκκένωσης γραφείων δίνεται στον Πίνακα 1 και είναι σύμφωνα με το θεωρητικό πληθυσμό, ο οποίος υπολογίζεται από το άθροισμα του θεωρητικού πληθυσμού όλων των ορόφων ή επιπέδων.
3.1.2. Πυροπροστατευμένες οδεύσεις διαφυγής α. Ο αριθμός και το πλάτος των εξόδων κινδύνου ή/ και των τελικών εξόδων κινδύνου γραφείων που αναπτύσσονται σε 1 όροφο ή επίπεδο, δίνεται στον Πίνακα 1.
β. Ο αριθμός και το πλάτος των εξόδων κινδύνου γραφείων που αναπτύσσονται σε 2 ή περισσότερους ορόφους ή επίπεδα και διαθέτουν πυροπροστατευμένες οδεύσεις διαφυγής με αυτοκλειόμενες πυράντοχες πόρτες, δίνεται στον Πίνακα 1 και είναι σύμφωνα με το θεωρητικό πληθυσμό κάθε ορόφου ή επιπέδου. Στην περίπτωση αυτή ο αριθμός και το πλάτος των τελικών εξόδων κινδύνου στο επίπεδο εκκένωσης δίνεται στον Πίνακα 1 και είναι σύμφωνα με το θεωρητικό του πληθυσμό, ο οποίος υπολογίζεται από το άθροισμα:
i. Του θεωρητικού πληθυσμού του ορόφου εκκένωσης και
ii. Του 1/2 του συνόλου του θεωρητικού πληθυσμού των υπερκείμενων και υποκείμενων ορόφων ή επιπέδων.
Πίνακας 1: Αριθμός και πλάτη εξόδων κινδύνου
Θεωρητικός πληθυσμός (άτομα)
|
Αριθμός εξόδων κινδύνου
|
Πλάτος εξόδων κινδύνου (m)
|
Έως 50
|
1*
|
0.90
|
51-150
|
2
|
0.90
|
151-300
|
2
|
1.40 και 0.90
|
301-500
|
2
|
1.40
|
501-750
|
3
|
1.60
|
751 -1000
|
4
|
1.80
|
* Κατ' εξαίρεση σε υπόγειους χώρους κύριας χρήσης επιβάλλονται 2 τουλάχιστον έξοδοι κινδύνου ελάχιστου πλάτους 0.9 m.
Για πληθυσμό μεγαλύτερο των 1000 ατόμων προστίθεται 1 έξοδος πλάτους 1.8 m ανά 300 άτομα ή κλάσμα αυτών.
4. Όρια μήκους πραγματικής απροστάτευτης όδευσης διαφυγής και αδιεξόδων
α. Η μέγιστη απόσταση της πραγματικής απροστάτευτης όδευσης διαφυγής από τους χώρους κύριας χρήσης του γραφείου έως την πλησιέστερη έξοδο κινδύνου ορίζεται σε 45 m. Όταν υπάρχουν 2 ή περισσότερες εναλλακτικές οδεύσεις διαφυγής, αρκεί η 1 από αυτές να πληροί το μέγιστο όριο μήκους της πραγματικής απόστασης.
β. Η απόσταση της πραγματικής απροστάτευτης όδευσης διαφυγής, αναφέρεται συνήθως σε οριζόντια διαδρομή.
Όταν στην όδευση περιλαμβάνεται απροστάτευτη κατακόρυφη όδευση, προστίθεται το μήκος του κλιμακοστασίου επαυξημένο κατά 50%.
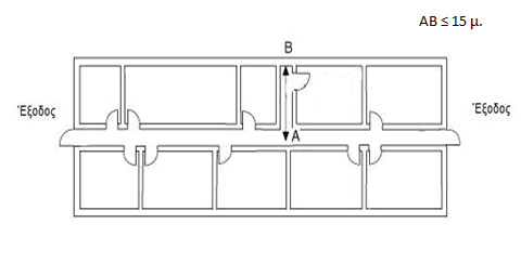
γ. Το μέγιστο μήκος απροστάτευτων αδιέξοδων τμημάτων διαδρόμου, δεν επιτρέπεται να υπερβαίνει τα 15 m (Σχήμα 1).

Σχήμα 1: Όριο μήκος αδιεξόδου
Γ. Λοιπά χαρακτηριστικά οδεύσεων διαφυγής - εξόδων κινδύνου
1. Οδεύσεις διαφυγής - έξοδοι κινδύνου
1.1. Γενικά α.
Το ελεύθερο ύψος των χώρων, όπου διέρχεται όδευση διαφυγής είναι τουλάχιστον 2,20 μ. και για τις σκάλες, δοκούς, θύρες οδεύσεων τουλάχιστον 2 m. Το ελάχιστος πλάτος της όδευσης διαφυγής των βοηθητικών χώρων, δεν επιτρέπεται να είναι μικρότερο από 0.6 m.
β. Απαγορεύεται η χρήση των ανελκυστήρων ως οδεύσεων διαφυγής.
γ. Απαγορεύεται η διέλευση οδεύσεων διαφυγής από βοηθητικούς χώρους όπως χώροι υγιεινής, αποθήκευσης και ηλεκτρομηχανολογικών εγκαταστάσεων.
1.2. Κλιμακοστάσια
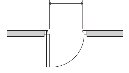
α. Έξοδοι κινδύνου - θύρες οδεύσεων διαφυγής, από χώρους κύριας χρήσης, πρέπει να διαθέτουν πλατύσκαλο εφόσον οδηγούν σε κλιμακοστάσιο. Το ελάχιστο πλάτος του πλατύσκαλου πρέπει να είναι 0.6 m.
β. Κάθε θύρα που έχει άμεση πρόσβαση στο κλιμακοστάσιο, πρέπει κατά το άνοιγμα της να μην φράσσει σκαλοπάτια ή πλατύσκαλα, ούτε να μειώνει το πλάτος της σκάλας ή του πλατύσκαλου, διασφαλίζοντας 1 τουλάχιστον μονάδα πλάτους οδεύσεως διαφυγής (Σχήμα 2).

Σχήμα 2: Θύρες κλιμακοστασίων
γ. Το ελάχιστο πλάτος (πάτημα) και ύψος (ρίχτι) των βαθμίδων των κλιμάκων που χρησιμοποιούνται ως οδεύσεις διαφυγής από χώρους κύριας χρήσης πρέπει να είναι 0.24 m και 0.13 έως 0.2 m αντίστοιχα (Σχήμα 3). Κατ' εξαίρεση απαλλάσσονται από την ανωτέρω απαίτηση γραφεία που η κύρια χρήση τους αναπτύσσεται σε έως και 2 ορόφους ή επίπεδα υπέρ του ισογείου και ο θεωρητικός πληθυσμός κάθε ορόφου ή επιπέδου δεν υπερβαίνει τα 50 άτομα.

Σχήμα 3: Βαθμίδες κλιμάκων
δ. Οι κυλιόμενες κλίμακες δεν γίνονται αποδεκτές ως οδεύσεις διαφυγής.
ε. Οι οδεύσεις διαφυγής πρέπει να είναι πυράντοχης κατασκευής και να μην περιλαμβάνουν καυστά υλικά.
Εξωτερικά μεταλλικά κλιμακοστάσια γίνονται αποδεκτά ως δεύτερες οδεύσεις διαφυγής.
1.3. Πυραντίσταση οδεύσεων διαφυγής
1.3.1. Εξωτερικές οδεύσεις
Οι εξωτερικές, οριζόντιες και κατακόρυφες οδεύσεις διαφυγής θεωρούνται ως πυροπροστατευμένες εφόσον είναι μόνιμης πυράντοχης κατασκευής χωρίς να περιλαμβάνουν καυστά υλικά και διαχωρίζονται από το κτίριο με δομικά στοιχεία με δείκτη πυραντίστασης τουλάχιστον ίσο με τον καθορισμένο στον Πίνακα 2. Η πυραντίσταση των εξωτερικών τοίχων πρέπει να επεκτείνεται εκατέρωθεν του κλιμακοστασίου κατά τουλάχιστον 2 μ. (Σχήμα 4).

Σχήμα 4: Πυραντίσταση εξωτερικών τοίχων - θυρών και επέκταση αυτής (όχι υπό κλίμακα)
1.3.2. Εσωτερικές οδεύσεις
Τα περιβλήματα των πυροπροστατευμένων οδεύσεων διαφυγής πρέπει να έχουν δείκτη πυραντίστασης τουλάχιστον ίσο με τον καθορισμένο στον Πίνακα 2.
1.3.3. Ανοίγματα πυροπροστατευμένων οδεύσεων
Τα ανοίγματα που χρησιμοποιούνται ως είσοδος και έξοδος της πυροπροστατευμένης όδευσης διαφυγής των ανωτέρω παράγραφος 1.3.1 και 1.3.2 πρέπει να διαθέτουν αυτοκλειόμενες πυράντοχες πόρτες με δείκτη πυραντίστασης που μπορεί να υπολείπεται μέχρι 30 λεπτά από τον ελάχιστο δείκτη πυραντίστασης του Πίνακα 2.
2. Θύρες
2.1. Κατεύθυνση περιστροφής- πλάτος Οι θύρες των οδεύσεων διαφυγής και εξόδων κινδύνου των γραφείων, πρέπει να ανοίγουν προς την κατεύθυνση της διαφυγής. Από την εν λόγω απαίτηση απαλλάσσονται θύρες γραφείων με συνολικό θεωρητικό πληθυσμό μέχρι 50 άτομα. Σε κάθε περίπτωση οι θύρες πρέπει να παρέχουν το πλήρες πλάτος του ανοίγματος τους (Σχήμα 5).

Σχήμα 5: Πλάτος θύρας
2.2. Θύρες περιορισμού πορείας - ελέγχου
α. Οι αυτόματες μηχανοκίνητες θύρες με αισθητήρες κίνησης που χρησιμοποιούνται στα γραφεία ως έξοδοι κινδύνου, γίνονται αποδεκτές μόνο όταν παρέχουν το επιβαλλόμενο πλάτος κατά το πλήρες άνοιγμα τους και σε περίπτωση διακοπής ρεύματος, παραμένουν ανοιχτές.
β. Οι θύρες ασφαλείας με ειδικούς μηχανισμούς χρονοκαθυστέρησης και οι διατάξεις ελέγχου ατόμων (όπως με μαγνητικές κάρτες και πληκτρολόγια απασφάλισης) επιτρέπεται να τοποθετούνται στις εναλλακτικές - δεύτερες οδεύσεις διαφυγής ή/και να χρησιμοποιούνται ως δεύτερες έξοδοι κινδύνου υπό την προϋπόθεση ότι απελευθερώνονται αυτόματα με την ενεργοποίηση του αυτόματου συστήματος πυρανίχνευσης στις περιπτώσεις που αυτό επιβάλλεται ή χειροκίνητα με ειδικό κομβίον απελευθέρωσης που εγκαθίσταται πλησίον των θυρών.
Επιπροσθέτως, οι θύρες ασφαλείας με ειδικούς μηχανισμούς χρονοκαθυστέρησης πρέπει να απελευθερώνονται αυτόματα σε περίπτωση διακοπής του ηλεκτρικού ρεύματος.
γ. Οι περιστρεφόμενες θύρες γύρω από τον κεντρικό άξονα αυτών και οι περιστροφικοί φραγμοί επιτρέπεται να τοποθετούνται στις εναλλακτικές - δεύτερες οδεύσεις διαφυγής ή/και να χρησιμοποιούνται ως δεύτερες έξοδοι κινδύνου υπό την προϋπόθεση ότι μπορούν να απελευθερώνονται αυτόματα.
2.3. Εξοπλισμός
α. Κάθε πόρτα πρέπει να έχει κατάλληλο εξοπλισμό λειτουργίας, ώστε να ανοίγει γενικά με προφανή και εύκολο τρόπο.
β. Σύρτες ή παρόμοια μέσα ασφαλίσεως δεν γίνονται αποδεκτά.